Elektron BBS
Inhalt | Mailbox | Elektronik | Verkehr | Markt | Download | Geld | Suchen
Schaufenster der Woche !hier klicken!

Stecker- und Buchsenbelegungen von Audiogeräten - DIN (Diodenstecker und -buchsen)

Diodenbuchsen

Magnetbandgerät, DIN, Stereo, 5-pol. db5sttbg.GIF (2908 Byte)
Magnetbandgerät, DIN, Mono, 5-pol. db5mtbg.GIF (2175 Byte)
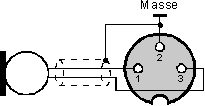
Magnetbandgerät, DIN, Mono, 3-pol. db3mtbg.GIF (2082 Byte)
Plattenspieler, DIN, Stereo, 5-pol. db5stpls.GIF (1930 Byte)
Plattenspieler, DIN, Mono, 5-pol. db5mpls.GIF (1840 Byte)
Plattenspieler, DIN, Stereo, 3-pol. db3stpls.GIF (2355 Byte)
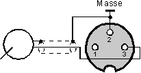
Plattenspieler, DIN, Mono, 3-pol. db3mpls.GIF (1765 Byte)
Rundfunktuner, DIN, Stereo, 5-pol. db5stpls.GIF (1930 Byte)
NF-Verstärker, DIN, Stereo, 5-pol db5svsta.GIF (1857 Byte)
NF-Verstärker, DIN, Stereo, 5-pol db5svste.GIF (1924 Byte)
Rundfunkempfänger, DIN, Stereo, 5-pol. db5strfe.GIF (2105 Byte)
Rundfunkempfänger, DIN, Mono, 5-pol. db5mrfe.GIF (1943 Byte)
Rundfunkempfänger, DIN, Mono, 3-pol. db3mrfe.GIF (1839 Byte)
Fernsehempfänger, DIN, Stereo, 5-pol. db5svsta.GIF (1857 Byte)
Fernsehempfänger, DIN, Mono, 5-pol. db5mtv.GIF (1737 Byte)

Diodenstecker

Mikrofon, niederohmig (50 - 300 Ohm), symmetrisch, 3-pol., DIN, Schaltschema N db3miks.GIF (1952 Byte)
Mikrofon, niederohmig (50 - 300 Ohm), unsymmetrisch, 3-pol., DIN, Schaltschema L db3mikul.GIF (1963 Byte)
Mikrofon, mittelohmig (1 - 5 kOhm), unsymmetrisch, 3-pol., DIN, Schaltschema M db3mikus.gif (1917 Byte)
Mikrofon, nieder- oder mittelohmig (50 - 300 Ohm b.z.w. 1 - 5 kOhm), unsymmetrisch, 3-pol., DIN, Schaltschema NM db3miknm.GIF (1965 Byte)
Mikrofon, hochohmig (> 50 kOhm), unsymmetrisch, 3-pol., DIN, Schaltschema H db3miku.GIF (1917 Byte)
Mikrofon, Stereo, niederohmig (50 - 300 Ohm), symmetrisch, 5-pol., DIN,  Schaltschema SN db5smiks.GIF (2530 Byte)
Mikrofon, Stereo, mittelohmig (1 - 5 kOhm), unsymmetrisch, 5-pol., DIN,  Schaltschema SM db5miku.GIF (2497 Byte)
Mikrofon, Stereo, hochohmig (> 50 kOhm), unsymmetrisch, 5-pol., DIN,  Schaltschema SH db5miku.GIF (2497 Byte)
Plattenspieler, Stereo, 3-pol., DIN db3splss.GIF (2062 Byte)
Plattenspieler, Mono, 3-pol., DIN db3mplss.GIF (1943 Byte)

Kopfhörerbuchsen

Kopfhörerbuchse (Europa- o.a. Würfelstecker), Stereo kh5pola.GIF (2278 Byte)
Kopfhörerbuchse (Europa- o.a. Würfelstecker), Stereo, empfohlene (geänderte) Anschlussbelegung kh5polb.GIF (2479 Byte)

Kopfhörerstecker

Kopfhörerstecker (Europa- o.a. Würfelstecker), Stereo kh5polas.GIF (2252 Byte)
Kopfhörerstecker (Europa- o.a. Würfelstecker), Stereo, empfohlene (geänderte) Anschlussbelegung kh5polbs.GIF (2221 Byte)

Hauptmenu Crosspoint Elektronik Geld Mailbox Marktplatz Mailboxliste Verkehr

letzte Änderung dieser Seite: 27. Dezember 2008

© 2000, Elektron BBS, Udo Bertholdt